溫州弘凌泵閥有限公司
客服1:0577-67987292
客服2:0577-67987270
傳真:0577-67987252
手機:13355776372
地址:浙江省永嘉縣甌北鎮浦西工業區
QBY系列型氣動隔膜泵
產品概述
QBY系列氣動隔膜泵是一種新型輸送機械,是目前國內新穎的一種泵類。采用空氣壓縮機壓縮空氣為動力源,對于各種腐蝕性液體,帶顆粒的液體,高粘度、易揮發、易燃、劇毒的液體,均能予以抽光吸盡。其性能參數與聯邦德國的 WLLDENPVMPS、美國的MARIOWPUMPS相近.本廠目前已形成系列化生產,共有八種規格直徑:¢10mm(3/8")、¢15mm(1/2")、¢25mm(1")、¢40mm( 1 1/2")、¢50mm(2")、¢65mm( 2 1/2")、¢80mm(3")、¢100mm(4")。三種材質、鋁合金、鑄鐵、不銹鋼。隔膜泵根據不同液體介質分別采用丁晴橡膠、氯丁橡膠、氟橡膠、聚四氟乙烯。以滿足不同用戶的需要。該泵自投產以來,已被國內一千多家石油、化工、電子、陶瓷、紡織、油漆、制藥機械系統單位采用,安置在種特殊場合,用來抽送各種常規泵不能抽吸的介質,且替代齒輪泵的理想產品,均取的了滿意的效果。
性能參數
|
型號 |
流量 |
揚程 |
出口壓力 |
吸程 |
大允
許能
直徑 |
大供氣
壓力 |
大供氣
消耗量 |
材料 |
|||
|
鋁合金 |
不銹鋼 |
鑄造鐵 |
增強聚丙烯 |
||||||||
|
QBY-10 |
0~0.8 |
0~50 |
6 |
5 |
1 |
7 |
0.3 |
★ |
★ |
★ |
★ |
|
QBY-15 |
0~1 |
0~50 |
6 |
5 |
1 |
7 |
0.3 |
★ |
★ |
★ |
★ |
|
QBY-25 |
0~2.4 |
0~50 |
6 |
7 |
2.5 |
7 |
0.6 |
★ |
★ |
★ |
★ |
|
QBY-40 |
0~8 |
0~50 |
6 |
7 |
4.5 |
7 |
0.6 |
★ |
★ |
★ |
★ |
|
QBY-50 |
0~12 |
0~50 |
6 |
7 |
8 |
7 |
0.9 |
★ |
★ |
★ |
/ |
|
QBY-65 |
0~16 |
0~50 |
6 |
7 |
8 |
7 |
0.9 |
★ |
★ |
★ |
/ |
|
QBY-80 |
0~24 |
0~50 |
6 |
7 |
10 |
7 |
1.5 |
★ |
★ |
★ |
/ |
|
QBY-100 |
0~30 |
0~50 |
6 |
7 |
10 |
7 |
1.5 |
★ |
★ |
★ |
/ |
注:★-有 ∕-無
主要用途
16、作為各種固液分離設備的前級送壓裝置。
技術參數
自吸高度:5-7m。
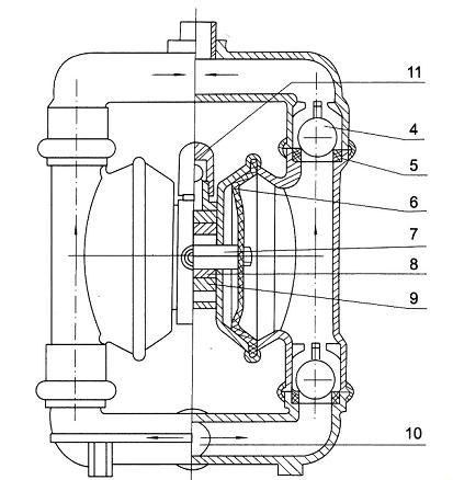
結構圖
1 進氣口 2 配氣閥體 3 配氣閥 4 圓球 5 球座 6 隔膜 7 連桿 8 連桿銅套 9 中間支架 10 泵進口 11 排氣口
型號意義
使用注意事項
1.本泵振動極其輕微,一般情況可不裝底腳螺栓。
